Свыше 80 процентов нефти в России добывается из скважин, эксплуатируемых с помощью установок электроцентробежных насосов (УЭЦН). Высокое содержание механических примесей в добываемой пластовой жидкости существенно осложняет процесс нефтедобычи. Оно приводит к аварийным отказам УЭЦН, и чтобы устранить их последствия зачастую требуется на длительное время остановить работу скважины. Эффективно защитить оборудование поможет самоочищающийся щелевой фильтр, который разработали Ученые Пермского Политеха.

Исследование выполнено в рамках реализации программы академического стратегического лидерства «Приоритет 2030». Статья о разработке опубликована в журнале Applied Science. Разработка способствует обеспечению технологического суверенитета России.
До 30 процентов отказов УЭЦН на нефтяных промыслах Урала и Западной Сибири происходит вследствие негативного влияния твердых механических частиц, содержащихся в перекачиваемой жидкости. При эксплуатации скважин частицы механических примесей из добываемой пластовой жидкости попадают в рабочие ступени электроцентробежных насосов, приводя к сбоям и поломкам. Чтобы этого избежать, на вход насосов устанавливаются фильтры.
Главными недостатками традиционных конструкций фильтров для нефтяного скважинного оборудования являются ограниченная грязеёмкость и малый срок службы. Их очистка в условиях скважин, то есть без подъема на поверхность — сложная техническая задача. Сотрудниками Пермского Политеха предложена схема самоочищающегося фильтра, способного обеспечивать повышение наработки УЭЦН при добыче пластовой жидкости с высоким содержанием механических примесей и не требующего дополнительного обслуживания.

Принципиальная схема щелевого самоочищающегося фильтра / ©Пресс-служба Пермского Политеха
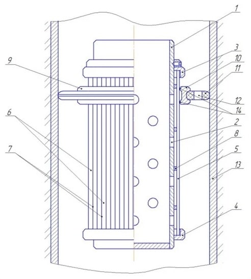
«Щелевой фильтр в составе погружной насосной установки помещают в скважину. Пластовая жидкость, содержащая механические примеси, свободно поступает к поверхности фильтрующего элемента, проходит через него и поступает в скважинный насос. При этом частицы механических примесей, отделенные от пластовой жидкости, оседают на внешней поверхности фильтрующего элемента. Эти отложения со временем снижают его пропускную способность.

Скважинный щелевой фильтр с подвижным устройством для очистки / ©Пресс-служба Пермского Политеха
Очистка разработанного фильтра осуществляется при деформации фильтроэлемента при изменении давления на устье скважины. Когда насосную установку отключают, давление в насосно-компрессорном трубопроводе снижается, а размер щелей фильтроэлемента увеличивается. Благодаря такой деформации отложения частиц механических примесей разрушаются, восстанавливая проницаемость фильтрующего элемента», — рассказывает профессор кафедры «Горная электромеханика», доктор технических наук Дмитрий Шишлянников.
Благодаря использованию самоочищающегося щелевого фильтра упрощается разработка осложненных скважин. Его установка на входе погружных насосов позволит увеличить объем нефтедобычи без дополнительных усилий со стороны работников.
Источник: https://naked-science.ru/article/column/uchenye-permskogo-politeha-razrabotali